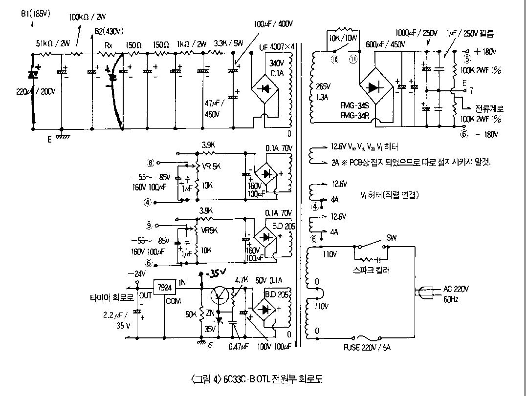
6C33C PP & OTL 2

Schematic by Jaehong Lee. For more informations, visit his site.

Power Supply